个体图谱

个体图谱URL

个体图谱: https://kbnlp.cpolar.top/#/corpus/kbgraph/concept

1. 实体列表:

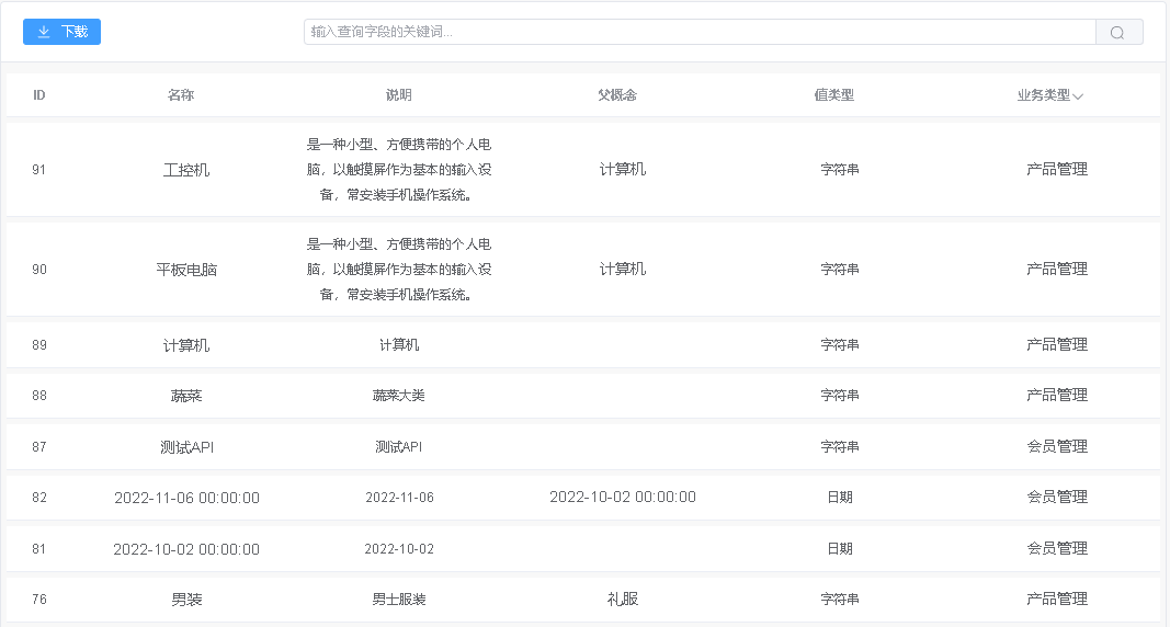
实体列表

表单字段:

字段名称

说明

名称

实体的名称,包括独立节点和实体

说明

实体的描述

值类型

实体名称所属的值类型

业务类型

实体所属的业务类型

概念

实体所属概念

状态

实体状态:已定义、已生成

功能:
  • 点击“实体图谱”功能栏,进入实体图谱列表

2. 实体图谱详情:

{
    busitype:"产品管理",
    code:"ipad平板:E"
    concept:{
        id:90,
        name:"平板电脑",
        code:"平板电脑:C"
    }
    desc:"是一种小型、方便携带的个人电脑,以触摸屏作为基本的输入设备,安装安卓操作系统。",
    id:35,
    name:"安卓平板",
    propvalset:[
    {
        id:298,
        property:{
            code:"尺寸:P",
            id:102,
            name:"尺寸"
        },
        unit:{
            code:"吋:U",
            id:750,
            name:"吋"
        },
        valueset:{
            code:"12:V",
            id:129,
            name:"12"
        },
    },
    {
        id:299,
        property:{
            code:"价格:P",
            id:44,
            name:"价格"
        },
        unit:{
            code:"元:U",
            id:4,
            name:"元"
        },
        valueset:{
            code:"1000:V",
            id:24,
            name:"1000"
        },
    }
    ]
}

表单字段:
  • 实体定义

字段名称

说明

id

实体序列号

name

实体的名称

code

实体的编码

desc

实体的描述

concept

选择所属概念: id: 概念id, name: 概念名称, code:概念编码

busitype

实体所属的业务类型

  • 属性值集(propvalset)

区域

字段名称

说明

property

name

属性名称

id

属性序列号

code

属性的编码

————————

——————

——————————————

valueset

name

值集名称

id

值集序列号

code

值集的编码

————————

——————

———————————————

unit

name

单位名称

code

单位的编码

id

单位的序列号

功能说明:
  1. 点击实体名称,显示实体图谱详情

3. 下载实体:

编辑实体

表单字段:

字段名称

说明

起始ID

下载实体的起始序列号

终止ID

下载实体的终止序列号

名称

本次下载的链接文件名

说明

本次下载的详情说明

类别

下载活动的类别:实体图谱

功能说明:
  1. 从实体列表左上角点击“下载”,弹出实体下载框。

  2. 输入下载实体的起始ID;

  3. 输入下载实体的终止ID, 终止ID必须要大于等于起始ID;

  4. 输入用户下载此文件的文件名(链接地址);

  5. 如果必要,输入说明备注;

  6. 点击“生成下载文件”按键,完成下载文件的生成。